Discover
/
Article

Paul Langevin, U-boats, and ultrasonics

NOV 01, 2022
Created in 1917 to detect German U-boats, Paul Langevin’s piezoelectric quartz transducer remains the foundation of all modern ultrasonic techniques.

DOI: 10.1063/PT.3.5122

PTO.v75.i11.42_1.d1.jpg
Francis Duck

The Panthéon in Paris is the final resting place for the most honored citizens of France. Four notable physicists lie there: Pierre Curie, Marie Curie, Jean Perrin, and Paul Langevin. In life, that scientific quartet formed an intimate group that was united by their love of science, humanity, and one another. Unlike his three compatriots buried in the Panthéon, Langevin never received a Nobel Prize. Perhaps for that reason, he never achieved the iconic status of Marie Curie.

PTO.v75.i11.42_1.f5.jpg

Dazzle camouflage was used by the Allies during World War I in an attempt to make it difficult for German U-boats to detect a target ship’s position and speed. Arthur Lismer’s 1919 painting Olympic with Returned Soldiers depicts the Olympic (the Titanic’s sister ship) in dazzle camouflage at a dock in Halifax, Nova Scotia. (Courtesy of the Canadian War Museum, public domain.)

View larger

But in the early 20th century, Langevin contributed prolifically to such fields as electromagnetism, diamagnetism, birefringence, and relativity. 1 , 2 In honor of the 150th anniversary of his birth, this article focuses on another aspect of his work: His discovery during World War I that the piezoelectric properties of quartz could be used to generate and receive ultrasound. Although aspects of that story appear in historical reviews of piezoelectricity, 3 electroacoustic transduction, 4 and underwater detection, 5 Langevin’s wartime studies of ultrasound are worth recounting on their own merits.

Early life

Langevin was born on 23 January 1872 in Paris in a small house close to where the Sacré-Cœur Basilica is located today. The Parisians were just emerging from the trauma of the city’s occupation during the 1870–71 Franco–Prussian War and the bloody suppression of the short-lived Paris Commune in May 1871. A beneficiary of France’s introduction of free public education in 1881, Langevin remained committed to the social importance of universal education throughout his life.

When World War I broke out in August 1914, Langevin’s scientific reach was already international. He had represented France at the 1904 International Congress of Arts and Science in Saint Louis, Missouri, and, as a competent linguist, had conversed easily with the eminent group of international physicists who attended the first Solvay Conference on Physics in Brussels in 1911 (see figure 1). A close friend of Albert Einstein, Langevin had colleagues in both Germany and the UK. Fighting Germans made no more sense to him than fighting his friends in the UK: As a pacifist, he did not believe warfare was a means to resolve conflict. So when war broke out, he joined the territorial reserve as a sergeant, where he carried out noncombat duties in Versailles.

Figure 1.

PTO.v75.i11.42_1.f1.jpg

The attendees at the first Solvay Conference on Physics, which took place in Brussels from 30 October to 3 November 1911. Paul Langevin stands farthest to the right; next to him is Albert Einstein. (Photograph by Benjamin Couprie, public domain.)

View larger

Marie Curie believed that was a huge waste of his creative and active mind. By the end of 1914, she was already operating her first x-ray van on the front line. Langevin, on the other hand, was forced to cope with the loss of his staff and students at the ESPCI Paris, where he was a professor. As Curie wrote in a January 1915 note to Langevin, “We are going through such a hard time that a man like you must urgently offer the services that only he can give. You can and must do much.” 6

Underwater detection using ultrasound

Shortly thereafter, a report appeared on Langevin’s desk. Written by Constantin Chilowski, a young Russian engineer, it proposed using the echoes of pulses of high-frequency sound to detect underwater objects. Although the idea of echo detection was not new, Langevin realized that Chilowski was suggesting something original. Sound from a low-frequency source usually spreads in all directions. But if the source is large and of high-enough frequency, a beam of sound analogous to a searchlight can be made.

It all depends on the sound’s wavelength in seawater, λ. At 1 kHz, a frequency audible to humans, λ is about 1.5 m. But as it happens, a source needs to be five wavelengths or more in diameter to generate a sound beam underwater, which means that a 1 kHz emitter would need to be at least 7.5 m in diameter—far too large to mount at sea. But at the ultrasonic frequency of 100 kHz, where λ is about 15 mm, a practical echo-detection system can fit on board a ship. So little was known about the properties of sound in water that Langevin initially considered several frequencies from 15 kHz to 174 kHz. The scheme also depended, of course, on how far sound waves would travel at any frequency before they become too attenuated to be detected. That needed to be determined.

Were there any alternative ultrasound sources that could produce sound beams underwater? Immediately after the sinking of the Titanic in 1912, Lewis Fry Richardson, a physicist and meteorologist, had suggested using ultrasound to detect icebergs by placing an underwater whistle at the focus of a mirror to create a beam. Chilowski, on the other hand, imagined a large underwater loudspeaker. After some consideration, Langevin rejected both of those options. What he believed was needed was a device with very low inertia that could operate with low loss and be driven at a voltage that could be sustained underwater.

Paul Langevin (1872–1946)

1872: Born on 23 January in Paris.

1888: Began studies at the ESPCI Paris, where he was taught by Pierre Curie.

1894: Began studies at the École Normale Supérieure in Paris.

1897: Received a fellowship from the city of Paris, which he used to study at the Cavendish Laboratory at Cambridge University.

1900: Named a research assistant in the faculty of sciences at the University of Paris (today’s Sorbonne University).

1902: Completed his PhD thesis on the ionization of gases.

1905: Chosen to succeed Pierre Curie as a professor of physics at the ESPCI Paris.

1909: Appointed a titular professor at the Collège de France.

1911–27: Attended the first five Solvay Conferences on Physics.

1920: Named scientific director of the Journal de Physique et le Radium (Journal of Physics and Radium).

1925: Appointed director of the ESPCI Paris.

1930–33: Chaired the sixth and seventh Solvay Conferences on Physics.

1934: Elected to the French Academy of Sciences.

1940–44: Held under house arrest during the German occupation of France.

1944: Named president of the commission on education reform in postwar France.

1946: Died on 19 December in Paris.

At Langevin’s request, in March 1915 the French Navy began funding a program of practical research in his ESPCI laboratory. Working with Chilowski, he designed an ultrasonic transmitter known as a singing condenser. They used a thin sheet of mica as a dielectric, which was held in place by a vacuum on a metal sheet that acted as one electrode of the capacitor. Water formed the other electrode. The navy lent Langevin an experimental arc transmitter for generating the high-frequency driving voltage, and by July 1915 he had generated ultrasonic intensities of about 100 mW/cm2. He confirmed the emission of ultrasonic waves by observing how the radiation force displaced a thin membrane.

Langevin had imagined an integrated pulse-echo system but failed to make the condenser work as a receiver. Chilowski and Marcel Tournier, also an engineer, designed a special carbon-granule hydrophone based on carbon microphones that were used to receive audio frequencies in air. To increase the sensitivity, they mounted the microphone at the focus of a parabolic mirror. Langevin put Tournier in charge of building and testing a working system. Successful tests in the Seine River led to a transfer of work to the naval base in Toulon in April 1916.

“A piece of stone, two plates of tinfoil”

Although the French were interested in underwater detection, the matter was perhaps more pressing for their UK allies, whose supply lines were threatened by German U-boats. Langevin’s counterpart in the UK was the physicist Ernest Rutherford, whom the Royal Navy tasked with, among other things, improving submarine detection methods. Although Rutherford preferred to use hydrophones as listening devices, he remained open to other options.

In May 1916 a small contingent from Rutherford’s team was invited by the physicist Maurice de Broglie to visit Langevin’s ultrasound research group in France. The visit went well: By August Rutherford was instructing Robert Boyle, a Canadian physicist working with him and the British Admiralty, to explore the potential of ultrasound techniques. Concentrating first on the receiver, Boyle made and tested several microphone designs in fall 1916. But he struggled to make a reliable source of ultrasound.

In early 1917 Langevin submitted a progress report to de Broglie, who brought it to the UK that February. In the report, Langevin described the progress he had made on his ultrasound project. Realizing that a large-area flat carbon microphone might prove more effective than a smaller one, he had employed one with his singing condenser and two additional components that were used in radio receivers: an audio amplifier and a heterodyne detector. But he admitted that his design still needed a few technical tweaks. For example, the transmitters often failed because of sparking through the 1 µm mica film, and hydrostatic pressure generated noise in the carbon-granule microphones if ocean conditions weren’t calm. Despite those issues, Langevin recommended that UK scientists pursue his approach.

Nevertheless, he soon began using quartz in place of the carbon granules. Quartz is a common crystalline form of silicon dioxide; its crystals are hexagonal prisms with dissimilar ends. As the brothers Jacques Curie and Pierre Curie discovered in 1880–81, it also has piezoelectric properties: When a quartz crystal is compressed or stretched, an electric charge is created on its faces. Conversely, applying a voltage across a crystal causes it to change dimensions slightly. 7

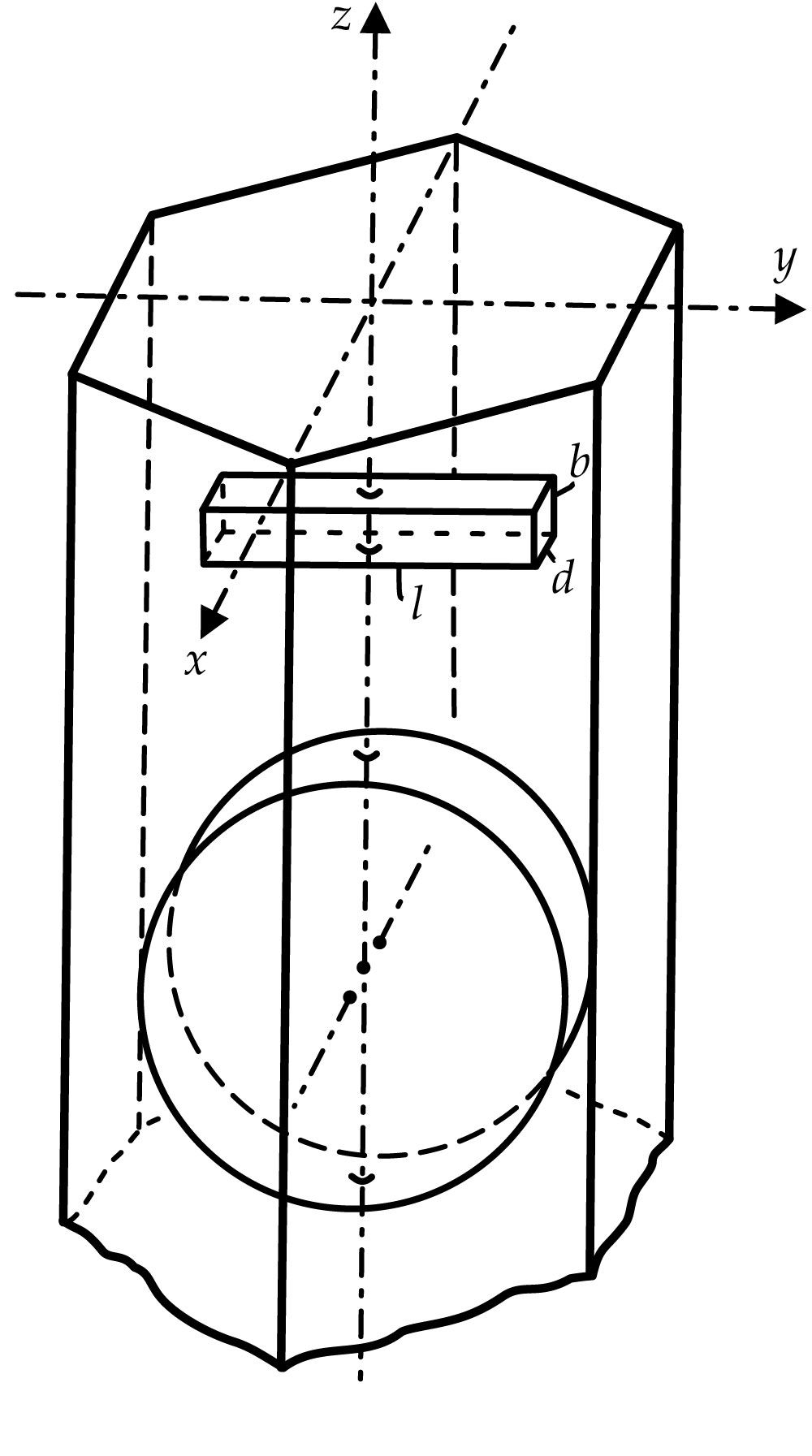
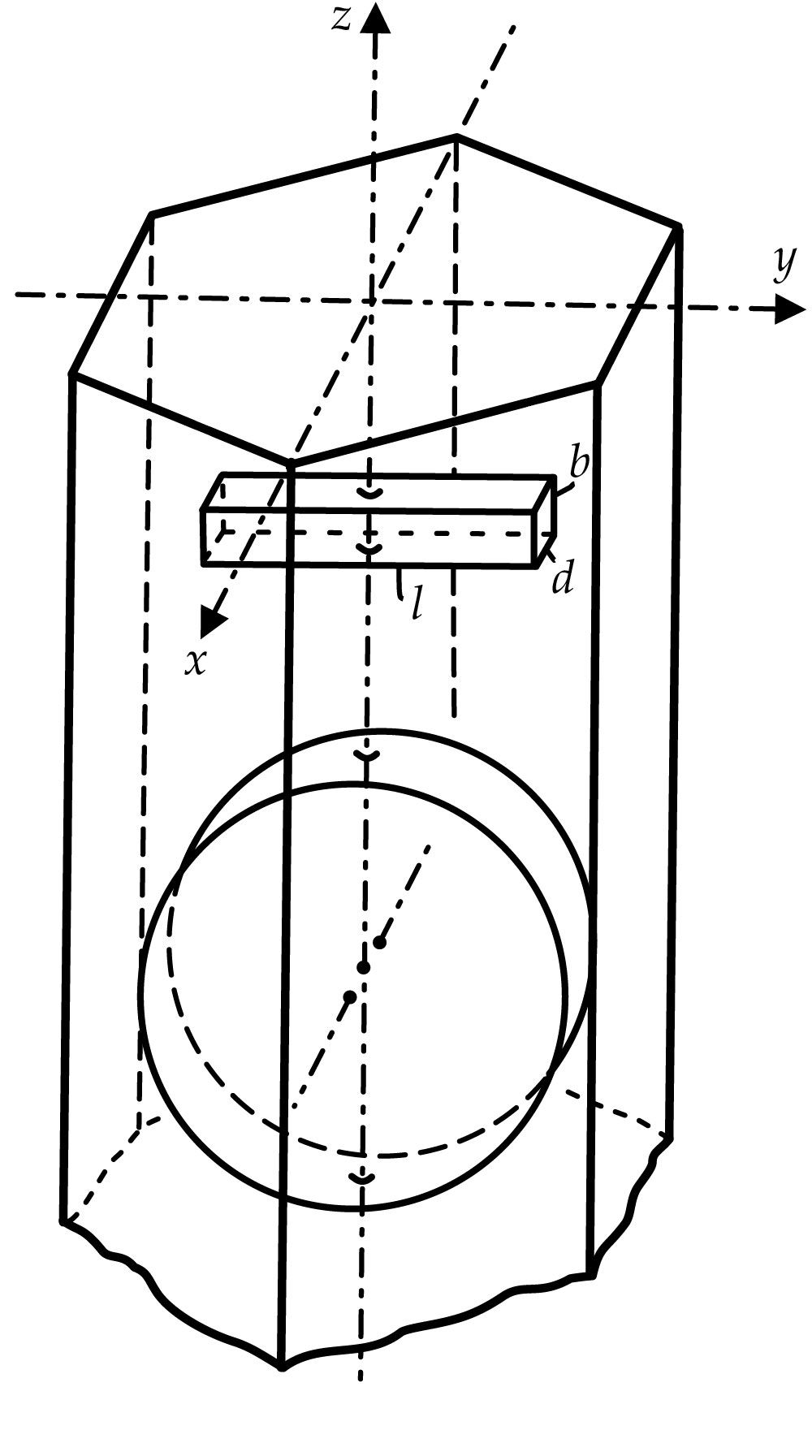
Polar charge is greatest in three specific directions, each of which are parallel to the crystal’s three pairs of prismatic faces and in a plane perpendicular to the prismatic axis. When quartz is used as a piezoelectric device, electrodes are always placed in planes perpendicular to one such polar axis, which is defined as the x-axis. The Curie brothers got Ivan Werlein, a Paris optical instrument maker, to cut two specific slices of quartz for them. The first, later termed the x-cut, which appears as the cylinder in figure 2, is done in such a way that the direction of compression or tension is along the x-axis. The second, now known as the y-cut, is depicted in figure 2 as the rectangular prismatic rod. It has a pair of electrical faces perpendicular to the x-axis but is oriented so that the stress is applied along the y-axis.

Figure 2.

PTO.v75.i11.42_1.f2.jpg

A diagram of x- and y-cut quartz. The cylinder at the bottom of the crystal is an x-cut plate of the type employed by Paul Langevin in his quartz transducer. The rectangular prism, l × b × d, on the other hand, is a y-cut plate. (Adapted from E. Hiedemann, Grundlagen und Ergebnisse der Ultraschallforschung [Principles and Results of Ultrasound Research], Walter de Gruyter, 1939, p. 4.)

View larger

As his colleague Tournier later recalled, Langevin asked for one of the Curie brothers’ original x-cut crystals. Setting it down on a bench, Langevin connected the electrodes to the radio receiver they had developed for the carbon microphone. When he placed a watch on the crystal, Langevin heard its tick through the loudspeaker. That was the vital breakthrough: Within a few days, Langevin and his team had constructed a prototype ultrasonic receiver that employed the Curies’ x-cut quartz plate as a transducer. 8

Soon a new 10 cm by 10 cm x-cut quartz transducer was cut from a large display crystal provided by Werlein. Despite Langevin’s concern that the piezoelectric properties of quartz might diminish at high frequencies, the device proved to be both sensitive and stable. With no evidence of a frequency-dependent loss factor, Langevin delighted in his elegantly simple solution, which he described as “a piece of stone, two plates of tinfoil.” 9

Boyle went to France in April 1917 to learn more about cutting quartz and visit the naval dockyard in Toulon. A joint Anglo–French mission presented a full account of their progress in Washington, DC, on 15 June, which prompted several US laboratories to begin researching the technology as well. By November Langevin’s piezoelectric quartz receiver was being successfully tested for underwater echo detection and communications, although it still employed a mica transducer to generate the ultrasound beam.

The quartz transmitter

As Boyle arrived in France to visit Langevin that April, the French physicist was beginning to investigate using quartz as a piezoelectric transmitter. He soon found that x-cut quartz could successfully transmit ultrasound. Exciting a 16 mm slice of pure quartz crystal at its thickness resonance, Langevin estimated that he could generate an acoustic power of about 1 kW. A visiting US physicist, Robert Wood, later noted that Langevin’s beam killed small fish that swam through it and caused “an almost insupportable pain” to anyone who put their hand in its path. 10 Langevin had established the basis on which all later developments in ultrasound followed.

In a major step toward modern ultrasonic circuitry, Langevin’s team replaced the arc transmitter with a tunable oscillator. He then realized that the most efficient transfer of electric energy to acoustic energy occurred when the driving frequency was the same as the natural resonant frequency of the quartz—analogous to the ringing of a bell. After experimentation, he determined that primary resonant frequency occurred when the thickness of the quartz slice was exactly half the wavelength of a sound wave in the elastic medium of the quartz.

But Langevin could only estimate the speed of sound, whose value he needed in order to set the correct thickness. The first crystal he tested resonated at about 150 kHz, which was a higher frequency than he wanted. He estimated the frequency of the ultrasonic wave by measuring the wavelength from the interference between the acoustic and electromagnetic signals in the beam. That direct measurement then allowed him to precisely relate crystal thickness to resonant frequency.

Langevin then focused on the extra gain that would result from operating the crystal at its mechanical resonance and would be added to the resonant gain from the tuned amplifier. But there was a looming problem: The higher the frequency, the more absorption resulted from thermoviscous effects in the water. A 100 kHz frequency was too high, and Langevin calculated that reducing it to 40 kHz would result in a sixfold increase in range. But the quartz crystal necessary to produce that frequency would need to be more than 50 mm thick. Naturally forming crystals of that size are rare, so that approach began to seem impracticable.

Langevin had another problem. To maintain a directional beam, the diameter of the transducer had to increase in inverse proportion to the frequency. That implied that the transducer’s overall mass would need to increase approximately as the inverse cube of the frequency. Scaling up from the laboratory to the ship would not be easy.

To solve those problems, he developed what became known as the Langevin sandwich transducer (see figure 3). Bonding a 4-mm-thick sheet of x-cut quartz between two 3 cm plates of steel, he created a device in which the resonant frequency was set by the whole structure and not the quartz alone. He managed to create a transducer of sufficient area for a 40 kHz directional beam by building a mosaic of smaller quartz pieces into an area 10 cm in diameter. Close liaison continued between Boyle, Langevin, and their teams, who were all searching desperately for difficult-to-find quartz. Eventually, the French naval attaché tracked down a chandelier supplier in Bordeaux, where Boyle was astonished to find a warehouse full of natural quartz crystals piled up like coal.

Figure 3.

PTO.v75.i11.42_1.f3.jpg

A resonant quartz sandwich transducer previously owned by the French Navy. The instrument, which has a diameter of 10 cm, is now on display at the ESPCI Paris. It has been opened to show the quartz mosaic attached to the quarter-wave steel plate on the right.

View larger

Ultrasound between the wars

An open exchange of ideas occurred in Paris in October 1918 at an interallied conference on supersonics. 11 Ever the innovator, Langevin proposed a fan-beam design for use in shallow waters and discussed the challenges of refraction and acoustic cavitation. By then, plans were in place to install ultrasonic systems of Langevin’s design on 7 French ships and of Boyle’s design on 12 UK ships.

The war ended before either navy could detect enemy submarines ultrasonically. In that sense, the work of Langevin was an operational failure. The modest financial investment in the development of the novel technology saved no lives and failed to prevent, for example, the Allies’ loss of roughly 6 million tons of shipping to U-boats in 1917. But ultrasound slowly began to attract the attention of scientists from academia, industry, and the military. 5

Langevin declined an invitation to move to the US and instead turned his attention to peacetime applications of the technology he had invented. In collaboration with Charles-Louis Florisson, an electrical engineer, he developed and patented the first commercial ultrasonic depth-sounding equipment. 12 The first sounding took place off Nice in October 1920. By the late 1920s, their ultrasonic depth sounder was widely licensed and installed on merchant and passenger ships. By the 1930s, Langevin’s original discovery was being used to produce thin, small quartz plates that generated ultrasonic beams at frequencies in excess of 1 MHz and did not require bonded substrates or mosaic fabrication.

Langevin’s patents on ultrasound technology were soon challenged in UK and US courts. Although the US case dragged on for 20 years, his intellectual property was ultimately defended in both instances. The decision to contest the cases has attracted attention from scholars because it seems to conflict with his belief that science was a shared endeavor and that its outcomes should be communal assets. 4 , 5 , 7 But it seems likely that Langevin’s patent applications were motivated as much by the aspirations of his partners as by his own: Chilowski wanted to promote his career outside Russia; Florisson needed commercial protection for his depth-sounding equipment; and Langevin’s wife, Jeanne, may have sought improved financial security.

Generously, Langevin assigned some of the income associated with the patents to Jacques Curie and to Pierre Curie’s daughters, Irène and Ève. In that way, he acknowledged his debt to the Curie brothers for their discovery of the piezoelectric reciprocity of quartz, which was crucial for its use in ultrasound detection.

All ultrasound work in the immediate aftermath of World War I was derived from Langevin’s breakthrough. 13 Boyle returned to Alberta, Canada, where he continued investigating ultrasonic metrology and ultrasonic cavitation. In the UK, one of the physicists Boyle had worked with, Frank Lloyd Hopwood, with St. Bartholomew’s Hospital in London, carried out numerous biophysical experiments based on Langevin’s work.

Perhaps the most notable researcher inspired by Langevin’s work was Wood, who became interested in ultrasound during his wartime visit to the French physicist’s Toulouse laboratory. 10 After the war, he was approached by the US financier Alfred Lee Loomis, who offered to fund a laboratory. When Loomis asked about ideas to study, Wood remembered Langevin’s work and suggested that they explore “supersonics.” 14 Using simple quartz transducers driven at very high powers, Wood and Loomis achieved spectacular results and brought publicity to Loomis’s newly established laboratory in Tuxedo Park, New York.

Although Wood learned of Langevin’s results in France, most other scientists and industrialists in the US got wind of Langevin’s breakthrough during the June 1917 Anglo–French visit to Washington, DC. That visit spurred Alexander Nicolson’s investigations into the properties of the piezoelectric crystal known as Rochelle salt and Walter Cady’s work on the quartz piezoelectric resonator. Nevertheless, interest in ultrasound gradually waned as the war receded from memory. It was not until World War II that scanned sonar became widely used to locate submarines.

In the interwar period, Langevin became one of the most senior and well-respected physicists in Europe. During the 1920s he gave a series of physics courses at the Collège de France on such topics as ultrasonics, quantum physics, magnetism, and relativity. In recognition of his seniority, he was elected to lead the sixth and seventh Solvay Conferences, the crucible for international physics debate at the time.

During the German occupation of France during World War II, Langevin was held under house arrest in Troyes because of his prewar anti-fascist activities. Upon his return to Paris, a delayed 73rd birthday ceremony was organized for him on 3 March 1945, which was attended by senior scientists, political leaders, educators, and representatives of wartime resistance movements. 15 Delegates or messages of goodwill poured in from nations across the ideological spectrum, including the UK, USSR, Greece, Yugoslavia, and China. Upon his death on 19 December 1946, Langevin was widely loved and respected (see figure 4).

Figure 4.

PTO.v75.i11.42_1.f4.jpg

Paul Langevin portrait (1945–46), by Pablo Picasso, Army Museum, Paris. (Image from agefotostock/Alamy Stock Photo.)

View larger

Langevin’s legacy: Ultrasound in medicine

The medical use of ultrasound—both diagnostic and therapeutic—is Langevin’s most tangible legacy today. In 1949, more than 30 years after Langevin’s first work on ultrasound, the first-ever conference on medical ultrasound was convened in Erlangen, Germany. At the conference, Florisson, Langevin’s colleague, recalled that Langevin had predicted that ultrasound might someday be used for medical therapy.

Ironically, it was not in France but in Germany that ultrasound therapy took flight. As with the pulse-echo system, quartz transducers—operating at about 1 MHz—were the key to the technological breakthrough. The scientific rationale for therapeutic ultrasound was developed by Reimar Pohlman, a physicist working for Siemens in Berlin, who in 1939 demonstrated that ultrasound exposure at moderate powers could be beneficial without doing damage. By the time of the Erlangen conference, there were at least 10 European companies selling equipment for ultrasound therapy. All but one of them used x-cut quartz piezoelectric transducers. Diagnostic ultrasound, 16 on the other hand, emerged in the 1950s. (See the article by Carr Everbach, Physics Today, March 2007, page 44 .) The initial transducers used were, again, quartz, although they were quickly replaced by ceramic ferroelectrics.

Echoes of Langevin’s work still pervade the field of medical ultrasound. Piezoelectric transducers remain the dominant technology used in ultrasound devices. Acoustic power is still measured using radiation force, just as Langevin did. Transducer delamination, a major problem for Langevin, is still an issue. Artifacts caused by refraction and absorption still need to be identified. And harmonic imaging remains based on an understanding of finite-amplitude propagation, which was first taught by Langevin in the 1920s.

Cady, a fellow piezoelectricity pioneer, described Langevin in 1946 as “the originator of the modern science and art of ultrasonics.” 17 Langevin’s scientific genius lay in unlocking the piezoelectricity of quartz to act simultaneously as an ultrasound source and receiver and in developing the first working ultrasound pulse-echo system. His quartz emitter opened the path to ultrasonic cleaning, sonochemistry, and surgery; his pulse-echo system enabled the development of proximity detectors, nondestructive testing, and medical scanning. Today, worldwide sales of medical ultrasound scanners total about $8 billion per year. Ultrasound scanning is a cost-effective, safe, portable, and noninvasive medical technology. The pacifist Langevin would surely have approved.

Tom Szabo’s comments on an earlier draft of this article are greatly appreciated.

References

  1. 1. B. Bensaude-Vincent, Langevin, 1872–1946: Science et vigilance (Langevin, 1872–1946: Science and Vigilance), Belin (1987).

  2. 2. J. Bok, C. Kounelis, Europhysics News 38(1), 19 (2007). https://doi.org/10.1051/epn:2007001

  3. 3. A. Manbachi, R. S. C. Cobbold, Ultrasound 19, 187 (2011). https://doi.org/10.1258/ult.2011.011027

  4. 4. F. V. Hunt, Electroacoustics: The Analysis of Transduction, and Its Historical Background, Harvard U. Press (1954; reprint, American Institute of Physics, 1982).

  5. 5. W. Hackmann, Seek and Strike: Sonar, Anti-Submarine Warfare, and the Royal Navy, 1914–54, Her Majesty’s Stationery Office (1984).

  6. 6. A. Langevin, Paul Langevin, My Father: The Man and His Work, F. Duck, trans., EDP Sciences (2022), p. 69.

  7. 7. S. Katzir, The Beginnings of Piezoelectricity: A Study in Mundane Physics, Springer (2006).

  8. 8. F. Joliot-Curie, La Pensée, October–December 1944, p. 32.

  9. 9. P. Langevin, Hydrogr. Rev. 2, 57 (1924), p. 77.

  10. 10. R. W. Wood, Supersonics: The Science of Inaudible Sounds, Brown U. (1939), p. 36.

  11. 11. Scientific Attaché to the American Embassy in Paris, Report of Conference on Detection of Submarines by the Method of Supersonics, Research Information Committee report no. 161 (31 October 1918), call no. 005878413, British Library.

  12. 12. J. Lewiner, Jpn. J. Appl. Phys. 30(S1), 5 (1991). https://doi.org/10.7567/JJAPS.30S1.5

  13. 13. F. Duck, in the special issue “History of Medical Physics 5,” Med. Phys. Int. (2021), p. 470.

  14. 14. J. Conant, Tuxedo Park: A Wall Street Tycoon and the Secret Palace of Science That Changed the Course of World War II, Simon and Schuster (2003).

  15. 15. Les Actualités Françaises (French News), newsreel, La science a résisté (Science resisted), 16 March 1945, www.ina.fr/ina-eclaire-actu/video/afe86003016/a-la-sorbonne-le-front-national-universitaire-fete-le-73eme-anniversaire .

  16. 16. Special issue, “History of Medical Physics 6,” Med. Phys. Int. (2021).

  17. 17. W. G. Cady, Piezoelectricity: An Introduction to the Theory and Applications of Electromechanical Phenomena in Crystals, McGraw-Hill (1946), p. 5.

More about the Authors

Francis Duck is a retired medical physicist, based in the UK, who now writes books and articles about the history of medical physics.

This Content Appeared In
pt_cover1122_no_label.jpg

Volume 75, Number 11

Related content
/
Article
Technical knowledge and skills are only some of the considerations that managers have when hiring physical scientists. Soft skills, in particular communication, are also high on the list.
/
Article
Professional societies can foster a sense of belonging and offer early-career scientists opportunities to give back to their community.
/
Article
Research exchanges between US and Soviet scientists during the second half of the 20th century may be instructive for navigating today’s debates on scientific collaboration.
/
Article
The Eisenhower administration dismissed the director of the National Bureau of Standards in 1953. Suspecting political interference with the agency’s research, scientists fought back—and won.
/
Article
Alternative undergraduate physics courses expand access to students and address socioeconomic barriers that prevent many of them from entering physics and engineering fields. The courses also help all students develop quantitative skills.
/
Article
Defying the often-perceived incompatibility between the two subjects, some physicists are using poetry to communicate science and to explore the human side of their work.

Get PT in your inbox

Physics Today - The Week in Physics

The Week in Physics" is likely a reference to the regular updates or summaries of new physics research, such as those found in publications like Physics Today from AIP Publishing or on news aggregators like Phys.org.

Physics Today - Table of Contents
Physics Today - Whitepapers & Webinars
By signing up you agree to allow AIP to send you email newsletters. You further agree to our privacy policy and terms of service.