Patent work blends science, business, and law
DOI: 10.1063/PT.3.3725
Nobody wakes up at age five and thinks, ‘I don’t know if I will be a fireman or a vet or a patent attorney,’ ” says Cyrus Bharucha, a physicist turned patent attorney who works for a superconductor company in San Diego. “But everyone I know in this field really loves it.”
Bharucha adds: “I find the strengths of a good physicist really contribute to the strengths of a good lawyer.” Two abilities that are key to both fields are asking the right questions and applying symmetry arguments. He explains that in both physics and law the important data have to be teased out from many facts, and both fields require being able to look at situations from different perspectives.
In patent law, it is also important to be good at written and spoken communication, grasp new technologies quickly, be well-organized, meet deadlines, and not be afraid of adversity. If you possess those skills and you want to work outside academia yet stay close to science, the patent profession may be for you.
Intellectual property
Patent professionals help inventors and companies protect their intellectual property (IP). They help clients determine what is patent-worthy. They draft patent applications and work with the US Patent and Trademark Office (USPTO) to obtain patents. They help clients enforce patents, and help them license or design around the patents of others. And, on the government side, they act as gatekeepers in issuing patents. Many patent lawyers work exclusively in prosecution—writing patents and shepherding them through the application process. Others practice both prosecution and litigation.
Inventions that currently cross the desks of patent professionals with a physics background involve software, quantum computing, circuitry, optics, oil and gas extraction, medical devices, and more. “You are exposed to the latest cutting-edge technology, so it’s fascinating,” says Stephen Ferance, a patent lawyer in Vancouver, British Columbia. As an astrophysics student in the 1990s, Ferance became aware of both the need to make a living and the shrinking academic job market. “I realized I’d be well into my 40s before I made a decent living [as a professor], so I changed gear,” he says. Patent law turned out to be a good fit. “My technical side doesn’t atrophy.”

The US Court of Appeals in Washington, DC, has nationwide jurisdiction in patent matters.
DIANA DIBERARDINO

To write a patent application for a client, one has to understand the invention. Some inventors come to a patent professional’s office with just a few sentences and no drawings. Others provide too much supporting information. The challenge is to take technical ideas and explain them in a way that a layperson can understand. Patents are written with the possibility of future litigation in mind, with a judge and jury as audience. (For a review of the US patent process, and recent changes in it, see the articles by James Richardson and Craig Wood, Physics Today, April 1997, page 32
After a patent has been submitted, a patent examiner must determine whether the invention is both new and nonobvious. The examiner may counter the patent application by digging up prior publications and patents, which the lawyer then goes through. “I enjoy the argumentative aspect,” says David Kellogg, who joined a small IP law firm in San Francisco after earning his bachelor’s degree in physics. There is always debate with the patent office. “If a claim goes through the first time, you have screwed up. It means you haven’t asked for enough,” he says. A successful patent typically takes two to three years from application to issuance.
Agent, examiner, attorney
An undergraduate degree in science or engineering and a passing grade on the national patent bar examination—a six-hour multiple-choice test—let you work as a patent agent. With that certification, you can represent inventors before the USPTO, which entails writing patent applications and interacting with patent examiners. But you can’t offer legal advice, write contracts, or litigate.
A law degree can open the door to more career options and draw a higher salary. It’s common to go to law school part-time while working as a patent agent or patent examiner. Sometimes law firms pay for law school, often in return for a two-year commitment to stay at that firm.

Diana DiBerardino (right) and Meghan McGovern are partners in their intellectual property law firm. The two earned advanced degrees in physics and electrical engineering, respectively, before going into patent law.
RIC EVANS

Kendall Abbasi earned a bachelor’s in physics in 2011 and then applied for “all sorts of jobs” before realizing that patent law is the “perfect solution for someone who loves science and technology, writing, and talking to clients and examiners—the intersection of business, law, and science.” She now works full time as a patent agent in San Francisco and attends law school on an IP fellowship, offered by some institutions to students interested in working in IP and technology law and policy.
In the field of patents, says Abbasi, “it’s absolutely critical to be comfortable asking questions and recommending strategies. You have to be comfortable persuading the patent office that an idea is patentable. For areas I am not strong in, communication can be important to fill a gap.” She says it’s always exciting to get a patent approved by the patent office. Also exciting: seeing or using a device—a camera, for example—that implements patents she has worked on.
Others never go for the law degree. Louis Levenson, for example, was a postdoc at Caltech when he realized just how tight the academic job market was. Having now practiced as a patent agent in southern California for a few years, he’s not keen to go back to school for a law degree. The patent profession, he says, “is rarely as intellectually challenging as physics. But it is never boring,” and even at the agent level it pays more than academia.
Michael Caldwell holds a bachelor’s degree in aeronautical engineering and worked for years in the semiconductor industry. At about age 50, he found himself jobless at a time when Silicon Valley was in a slump, and he decided to take the patent bar exam. Now as an independent patent agent he bills $250 an hour. Being well-connected was crucial to getting started, he says. He advises people entering the field to view their first two to three years as an internship.
According to the National Association of Patent Practitioners (NAPP), there are just over 45 000 patent professionals in the US. About a quarter of them are patent agents. In 2016 patent agents working in law firms earned an average of $141 000, according to a survey by the American Intellectual Property Law Association. Patent lawyers earned more than twice that. NAPP president Dan Krueger notes that more than half a million patent applications are filed each year in the US and that the numbers are growing both in the US and abroad.
Company clients
Bharucha has worked for law firms and for a superconductor company. In leaving research for law, he traded depth for breadth, he says. In going from a law firm to a tech company, he encounters a narrower range of technologies, but he now has closer connections with scientists. “In the law firm, it was a pretty solo endeavor—writing patents and emailing with the patent office. I work much more in teams now,” he says.
Bharucha’s job is to talk with scientists and engineers and decide which of many innovations to seek patents on; he farms out to outside law firms the actual patent writing and negotiations with the patent office. Deciding what to patent is a balance of money and protection, he says. Inventions in rapidly changing technologies may not be worth patenting. Inventions that can be kept secret are better protected without a patent—he points to the famous example of the Coca Cola recipe, which has been kept secret for more than a century; a patent offers protection for 20 years. The challenge for him as in-house patent counsel, he says, “is wrapping my head around everything and keeping straight a lot of detailed information. We have a big product line.”
Large companies tend to patent aggressively. It typically costs a customer $10 000–$30 000 to obtain a patent in the US. On top of the $1600 filing fee come up-front preparation fees, followed by costs associated with back-and-forth negotiations with the patent office. Filing abroad adds up to $10 000 per country. Then come ongoing maintenance fees, which are required to keep the exclusivity of the patent for its full term. The fees, which in the US currently sum to $11 000, are charged in increments that increase over time as an incentive to the patentee to either quickly commercialize their invention or open it to the public.
“If you get a sizeable portfolio, those costs will eat you alive,” says Krueger. “Patents almost always cost more to get than they make, so are not well-suited for small companies or individuals not yet having a marketable product to protect.” In addition, a culture of posturing and intimidation by large companies, he says, means that most of their patents are for incremental advances, not for revolutionary developments.
“Smaller companies are not anxious to patent unless they are going to see a profit,” agrees Ferance, noting that most of the inventions he works with do become commercialized. A recent example that is still at an early stage is an international patent application for computerized environmental monitoring and prediction for river water levels and other natural systems. The application, by a small company in Vancouver, has been favorably examined at the international level, he says. The next step for the company is to apply for national patents in various countries around the world.
“Technology archaeologists”
The vast majority of patent infringement claims are settled without going to trial. Chris Ryan, a physicist turned patent lawyer in Austin, Texas, says about 80% of his practice involves disputes about technology and the rest is advising companies on the legal implications of using various technologies. “I like looking at the strengths and weaknesses of the case. I enjoy the chess moves,” he says. Patent litigation is expensive. If a case goes all the way to a jury trial, “it’s hard to do for under $2 million,” he says, “and complex cases can cost upward of $10 million.”

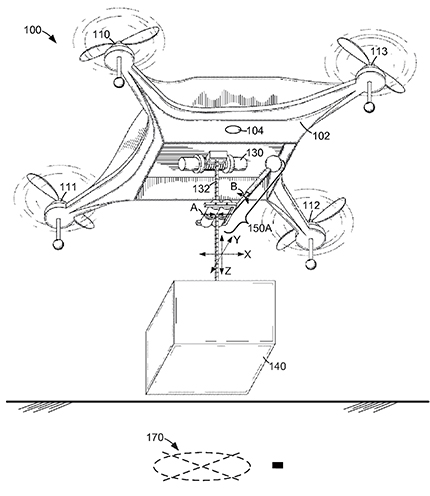
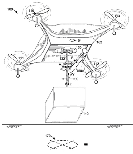
A patent related to using drones for delivering packages was issued to Amazon Technologies on 13 June 2017. This figure from the patent, “Tether Compensated Airborne Delivery,” illustrates characteristics of the idea, which include sensors that monitor a retractable tether to compensate for flight instability.
US PATENT 9,676,481 B1

Eric Stephenson, who also practices in Austin, stopped doing patent litigation because of the legal warfare. In one case he represented a party accused of infringement involving a smart battery pack. A microcontroller was used to monitor a battery and say how often it had been recharged. “I thought I would kill the challenge in no time. I couldn’t believe a patent had been granted,” he says. But it was patentable, and “once the client was done screaming at us, he settled the lawsuit and paid.”
Stephenson likes doing patent prosecution because it’s “more of a nine-to-five job and you are dealing with happy inventors who are happy about their inventions—the future is bright.” In both prosecution and litigation, he says, an in-depth understanding of the technical aspects of the inventions is crucial.
Ryan says he typically works 60 hours a week, although it can be 80 hours or more when he has more than one case going to trial. “I enjoy the thrill of the fight,” he says. “When you work on these cases, you learn a lot. You delve in deep and figure out the origins story. We are technology archaeologists.”
More about the Authors
Toni Feder. tfeder@aip.org